To content
Автопитер — интернет-магазин автозапчастей в КыргызстанеАвтопитер — интернет-магазин автозапчастей в Кыргызстане
Бишкек
Вход
Корзина

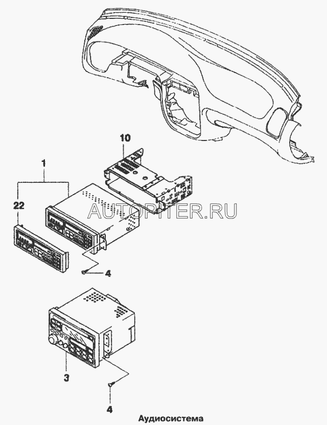
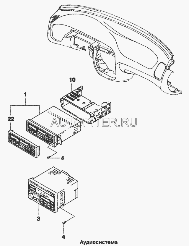
96229571

4 предложения
Производители:
Chevrolet
Daewoo
General Motors
Opel

Рекомендуем