Fendt-5220 часть2fendt-5220-chast2
Поиск деталей
Например: Grain Tank
80 Grain Tank and fairings90 Guards100 Driver'S Platform110 Hydraulic system120 Electric System130 Tools and Decal140 Variations And Accessories

Hydraulic Pump Up To 551510030

Hydraulic Pump From Serial Number 551510031

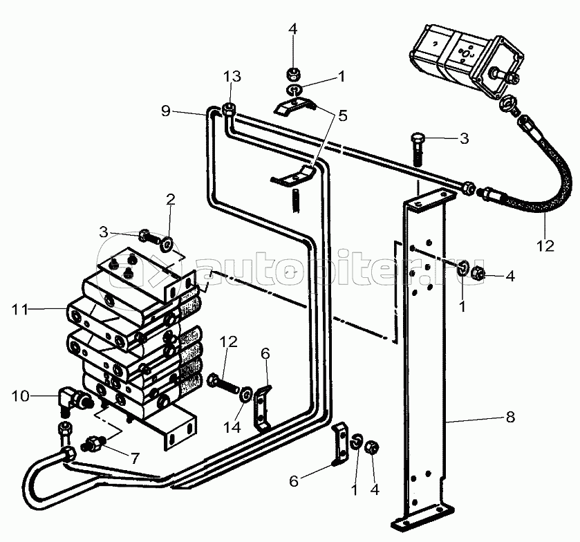
Valve Chest Up To 551510030

Valve-Chest Elements Up To 551510030

Valve-Chest Elements Up To 551510030

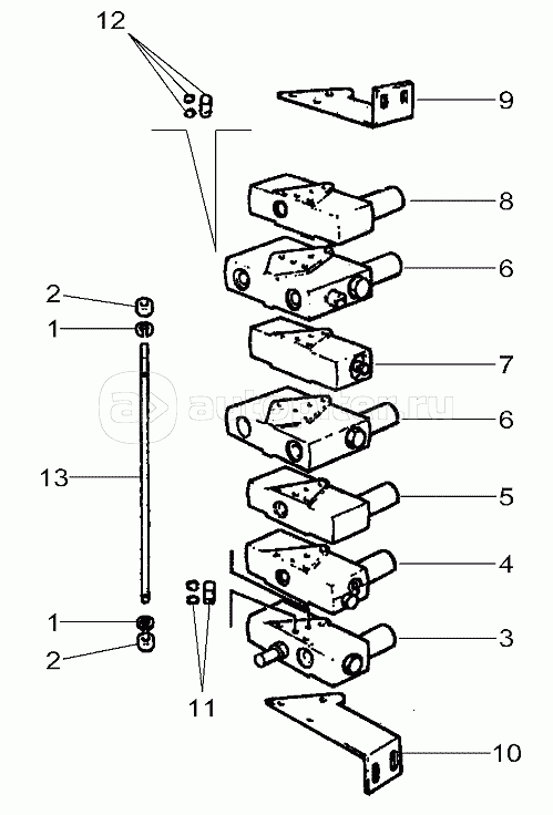
Valve Chest From Serial Number 551510031

Valve-Chest Elements From Serial Number 551510031

Reel Circuit Hydraulic Up To 551510030

Reel Circuit Hydraulic From Serial Number 551510031

Reel Circuit Hydraulic

Drive Hydraulic Circuit

Drive Hydraulic Circuit

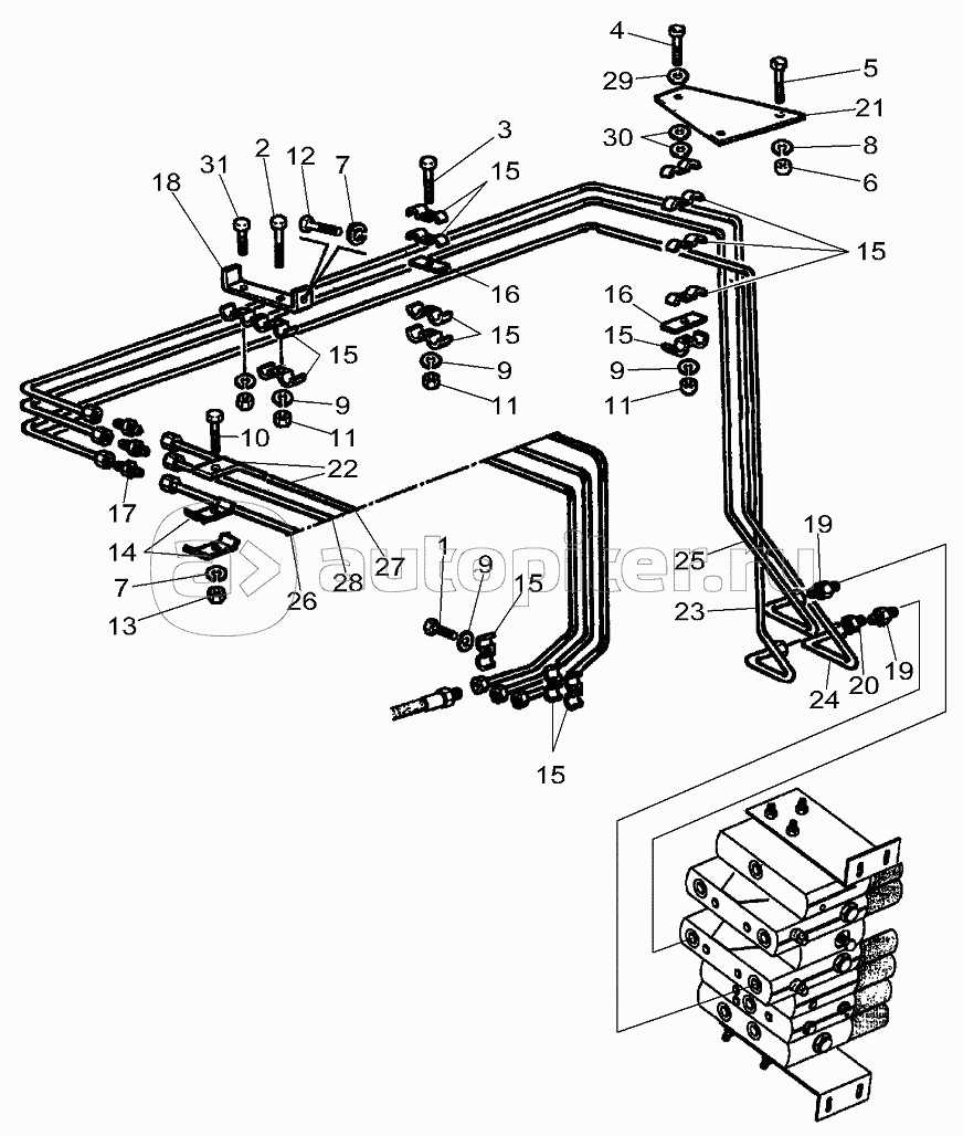
Connections For Hydraulics Pipes

Straw Chopper Transmission - Up To 551510030

Straw Chopper Transmission - From Serial Number 551510031