Глубокорыхлитель ГР-70glubokoryhlitel-gr-70
Поиск деталей
Например: Общий вид
Плуг-глубокорыхлитель ГР-70КТ

Общий вид

Колесо

Талреп

Опора колесного хода

Прикатывающий каток

Прикатывающий каток

Колесный ход

Колесный ход

Ось с прихватами

Стойка с ножами

Стойка с ножами

Рессора с держателями

Стойка с ножами, рессорой и кронштейнами

Опора с держателем

Планка фирменная и световозвращатели

Рама прикатывающего катка

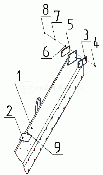
Рама прицепная

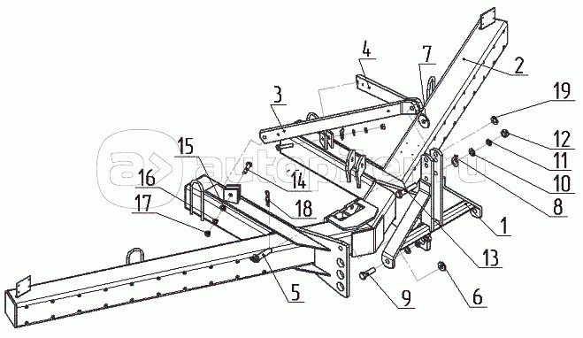
Крепление стоек с ножами

Крепление стоек с ножами

Крепление стоек с ножами

Крепление опор и колесного хода

Крепление опор и колесного хода