CA 5250 (GJBP66K2T1E4)ca-5250-gjbp66k2t1e4
Поиск деталей
Например: Двигатель (правая схема)
ДвигательЭлектрооборудование двигателяСистема питанияСистема выпускаСистема охлажденияСцеплениеКППЗадняя подвеска силового агрегатаМостыРамаПодвескаКолеса и ступицыРулевой механизмТормозаДатчикиЭлектрооборудованиеКомплект инструментовПередний буферКабинаПринадлежностиКапот, крылья, облицовка радиатора (оперение)Пол кузоваТеплоизоляция глушителяПередок кузоваВерхний отсекБоковина кузоваЗадок кузоваОбшивка крышиДвериСиденьеСпальное местоВентиляция и отоплениеПринадлежности кабины

Двигатель (правая схема)

Двигатель (левая схема)

Подвеска двигателя

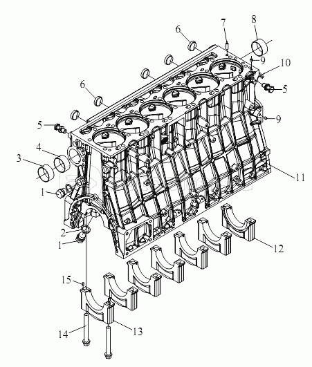
Составляющие элементы блока цилиндров

Блок цилиндров

Составляющие элементы головки блока цилиндров

Головка блока цилиндров

Поршни и шатуны

Коленчатый вал, шкив и маховик

Кулачковый механизм

Трансмиссионная система

Система газораспределения

Выхлопная труба

Масляный картер

Маслоприемник

Масляный насос

Масляный радиатор

Вентиляция картера

Центробежный масляный фильтр

Устройство отбора мощности

Система шестерен передней части

Система подачи топлива (I)

Система подачи топлива (II)

Штуцер возврата мочевины

Фильтр тонкой очистки топлива

Система турбонаддува

Водосливной кран

Термостат, водяной насос

Вентилятор с муфтой вентилятора

Масляный насос гидроусилителя руля

Воздушный компрессор (I)

Воздушный компрессор (II)