КЗС-7kzs-7
Поиск деталей
/2.gif)
Молотилка самоходная КЗК 0100000Б-09 (вид слева)
/3.gif)
Молотилка самоходная КЗК 0100000Б-09 (вид справа)
/4.gif)
Молотилка самоходная КЗК 0100000Б-09
/5.gif)
Электрооборудование молотилки самоходной КЗК 0100000Б-09 (лист 1)
/6.gif)
Электрооборудование молотилки самоходной КЗК 0100000Б-09 (лист 2)
/7.gif)
Электрооборудование молотилки самоходной КЗК 0100000Б-09 (лист 3)
/8.gif)
Привод главного контрпривода КЗК 0220000А
/9.gif)
Пружина КЗК 0220040А
/10.gif)
Рычаг КЗК 0220170
/11.gif)
Бункер зерновой КЗК 0203000В (лист 1)
/12.gif)
Бункер зерновой КЗК 0203000В (лист 2)
/13.gif)
Вибропобудитель КЗК 0226010А
/14.gif)
Крыша бункера КЗК 0204180 (лист 1)
/15.gif)
Крыша бункера КЗК 0204180 (лист 2)
/16.gif)
Элеватор зерновой КЗК 0214000Б
/18.gif)
Муфта фрикционная КЗК 0219100А
/19.gif)
Шнек загрузной зерновой КЗК 0216000А
/20.gif)
Привод горизонтального шнека КЗК-10-0221000
/21.gif)
Привод вибратора КЗК 0223000А
/22.gif)
Очистка КЗК 0202000Б-02 (вид слева)
/23.gif)
Очистка КЗК 0202000Б-02 (вид справа)
/24.gif)
Очистка (тяга КЗК 0202040Б, кронштейн КЗР 0202010В, рычаг КЗР 0202160Г)
/25.gif)
Стан решетный верхний КЗК 0260000Б
/26.gif)
Очистка (шатун КЗР 0202030Е и шкив КЗК 0202109Б)
/27.gif)
Боковина левая КЗК 0202050В
/28.gif)
Боковина правая КЗК 0202060В
/29.gif)
Очистка (устройство натяжное КЗК 0202640А и ролик КЗК 0202650)
/30.gif)
Очистка (шкив КЗК 0202810А и кожух КЗК 0202980А)
/31.gif)
Очистка (вал КЗК 0202530Б и шкив КЗК 0202860А)
/32.gif)
Очистка (шнек КЗК 0202770А, поддон, шкивы)
/33.gif)
Очистка (кожух КЗК 0202970, шкивы КЗК 0202103Б и КЗК 0202104)
/34.gif)
Очистка (установка муфты фрикционной КЗК 0219020Б)
/35.gif)
Муфта фрикционная КЗК 0219020Б-01
/36.gif)
Очистка (рычаг КЗР 0202190Б-02 и тяга КЗР 0202650В)
/37.gif)
Доска стрясная КЗК 0280000А (лист 1)
/38.gif)
Доска стрясная КЗК 0280000А (лист 2)
/39.gif)
Очистка (оси КЗР 0202080 и КЗР 0202080-01, рычаги)
/40.gif)
Очистка, шкив ведомый КЗК-12-0217300
/41.gif)
Устройство натяжное КЗК 0202640А
/42.gif)
Устройство натяжное КЗР 0202480
/43.gif)
Устройство домолачивающее КЗК 0207000В
/44.gif)
Элеватор колосовой КЗК 0208000А
/45.gif)
Цепь элеватора КЗР 0208080Б
/46.gif)
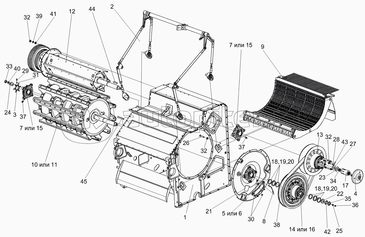
Соломотряс КЗК 0212000А
/47.gif)
Вал коленчатый ведущий КЗК 0212010Б
/48.gif)
Вал коленчатый ведомый КЗК 0212020А
/49.gif)
Аппарат молотильный КЗК 0102000 (лист 1)
/50.gif)
Аппарат молотильный КЗК 0102000 (лист 2)
/51.gif)
Фланец КЗК 0102280
/52.gif)
Фланец КЗК 0102290
/53.gif)
Подбарабанье КЗК 0103000
/54.gif)
Подбарабанье КЗК 0103010
/55.gif)
Барабан молотильный КЗК 0104000
/56.gif)
Битер отбойный КЗК 0105000
/57.gif)
Вариатор барабана КЗК 0108000
/58.gif)
Механизм подъема подбарабанья КЗК 0115000А
/59.gif)
Вариатор барабана КЗК 0123000
/60.gif)
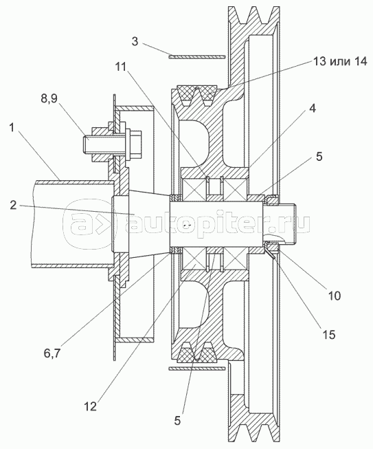
Вариатор барабана РСМ-10.01.18.060Б
/71.gif)
Вентилятор КЗК 0217000Б (вид слева)
/72.gif)
Вентилятор КЗК 0217000Б (вид спереди)
/73.gif)
Крылач КЗК 0217010Б
/74.gif)
Блок шнеков КЗК 218010Б
/75.gif)
Стан решетный нижний КЗК 0240000