Компоненты ZX-450komponenty-zx-450
Поиск деталей
Например: PUMP,PISTON

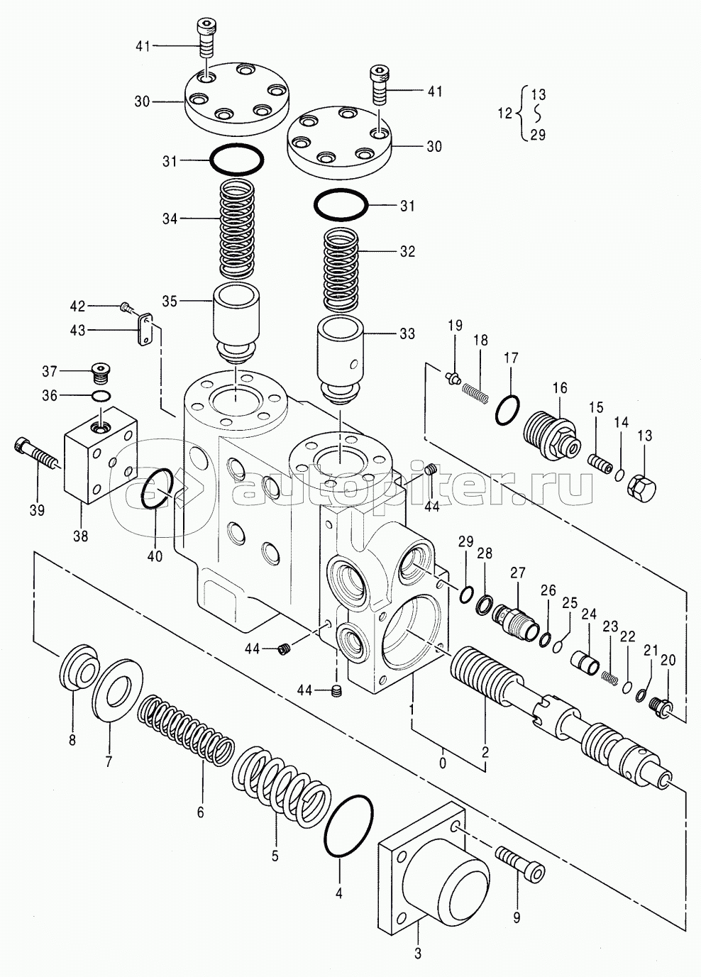
VALVE,CONTROL (1/5)

VALVE,CONTROL (2/5)

VALVE,CONTROL (3/5)

VALVE,CONTROL (4/5)

VALVE,CONTROL (5/5)

VALVE,CONTROL (1/5) <450, H, MT, MTH>

VALVE,CONTROL (2/5) <450, H, MT, MTH>

VALVE,CONTROL (3/5) <450, H, MT, MTH>

VALVE,CONTROL (4/5) <450, H, MT, MTH>

VALVE,CONTROL (5/5) <450, H, MT, MTH>

VALVE,PILOT (FRONT & SWING)

VALVE,PILOT (TRAVEL)

VALVE,PILOT (TRAVEL)

VALVE,PILOT <450, H, MT, MTH>

VALVE,PILOT

VALVE,PILOT

VALVE,PILOT (BREAKER)

VALVE,FC

VALVE,SHUTTLE (1/5)

VALVE,SHUTTLE (2/5)

VALVE,SHUTTLE (3/5)

VALVE,SHUTTLE (4/5)

VALVE,SHUTTLE (5/5)

VALVE,SHUTTLE (1/5)

VALVE,SHUTTLE (2/5)

VALVE,SHUTTLE (3/5)

VALVE,SHUTTLE (4/5)

VALVE,SHUTTLE (5/5)

VALVE,SHUTTLE

VALVE,SOLENOID

VALVE,SOLENOID

VALVE,SOLENOID

VALVE,SOLENOID <460>

VALVE,SOLENOID

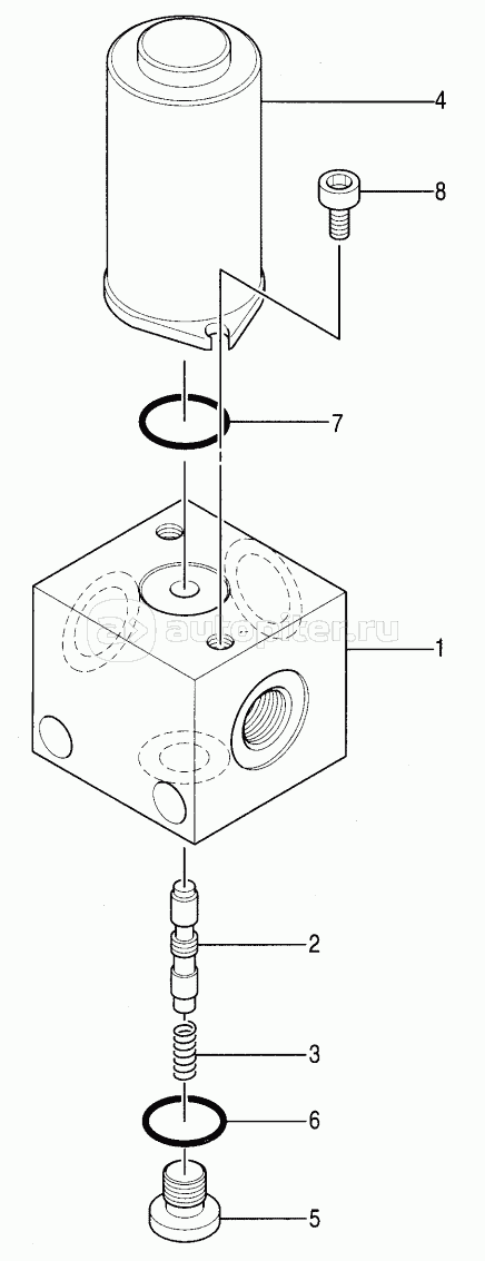
VALVE,CHECK

VALVE,LOCK

VALVE,HOLDING (BOOM)

VALVE,HOLDING (BOOM)

VALVE,HOLDING (ARM:BOTTOM)

VALVE,HOLDING (ARM:BOTTOM)

VALVE,HOLDING (ARM:ROD)

VALVE,HOLDING (ARM:ROD)