ZLJ5500V3zlj5500v3
Поиск деталей
CHASSISPOWER SYSTEMDRIVE SYSTEMDRIVE SYSTEM 2SUSPENSION SYSTEMSTEERING SYSTEMAIR CONDITIONINGBRAKE SYSTEMSTRUCTURAL MEMBERS AND OTHERSSTRUCTURAL MEMBERS AND OTHERS 2ELECTRICAL SYSTEMHYDRAULIC SYSTEMENGINE

AUXILIARY ELEMENT INSTALLATION, CHASSIS FRAME D00672302700000000Y

ENGINE HOUSING ASSY D00672305100000000Y

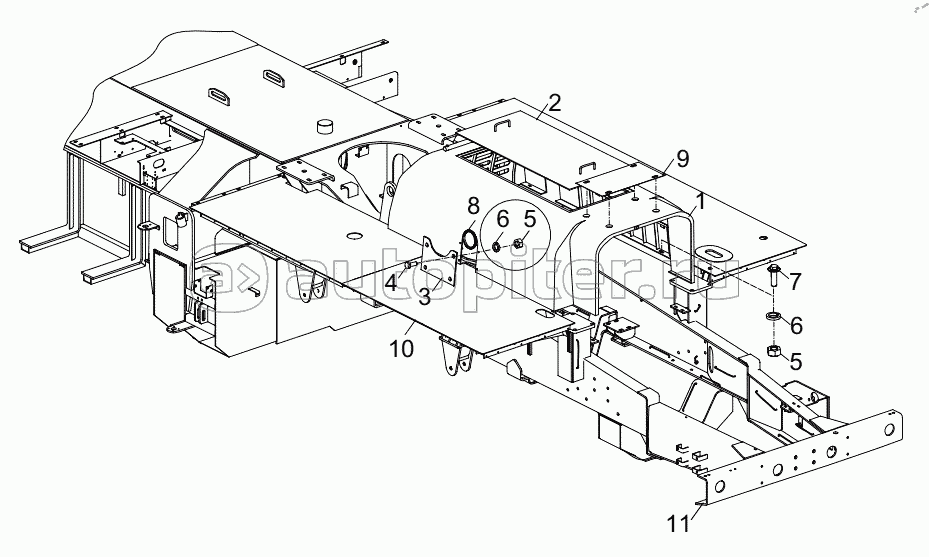
PLATFORM ASSY D00672305600000000Y

FRONT PLATFORM ASSY D00672305600200000Y

INTERMEDIATE COVER PLATE ASSY D00672305600400000Y

FRONT INTERMEDIATE PLATFORM ASSY D00672305600600000Y

REAR INTERMEDIATE PLATFORM ASSY D00672305600800000Y

REAR PLATFORM ASSY D00672305601000000Y

GUARAD BOARD D00672305601400000Y

WALL PANEL AND ITS INSTALLATION D00672305800000000Y

SPARE TIRE INSTALLATION D00672305500000000Y

TOOLBOX ASSY D00672309400000000Y

HYDRAULIC OIL TANK D00631323000000000Y

RETURN-LINE FILTER D1010600009_101281Y

RETURN-LINE FILTER D1010600009_101375Y

RETURN-LINE FILTER D1010600009_102124Y

HYDRAULIC RESERVOIR INSTALLATION D00631324800400000Y

LEVEL GAUGE INSTALLATION D00631224720200000Y

BOOM SUPPORT D00631320300000000Y

OIL PUMP DRIVE DEVICE D00631323900000001Y

OIL PUMP DRIVE DEVICE D00631323910000000Y

VARIABLE PUMP A4VG125EP4X-NAF02K023EP D1010000709_32793Y

THE 5TH OUTRIGGER AND ITS INSTALLATION D00631321100000000Y

OUTRIGGER D00633101300000000Y

THE 5TH OUTRIGGER CYLINDER D00631418421400000Y

OUTRIGGER OPERATING MECHANISM D00631255810000000Y