Case-580T (часть 1)case-580t-chast-1-2552
Поиск деталей
Например: 00.500.01(05) - DIA KIT
Запасные комплектыДвигательГидротрансформаторТрансмиссияКарданный валПередний мостЗадний мостТормозаГидравлическая система рабочего оборудованияПротивовесРамаРулевое управлениеКолесаОтопление и кондиционирование
-1/212.gif)
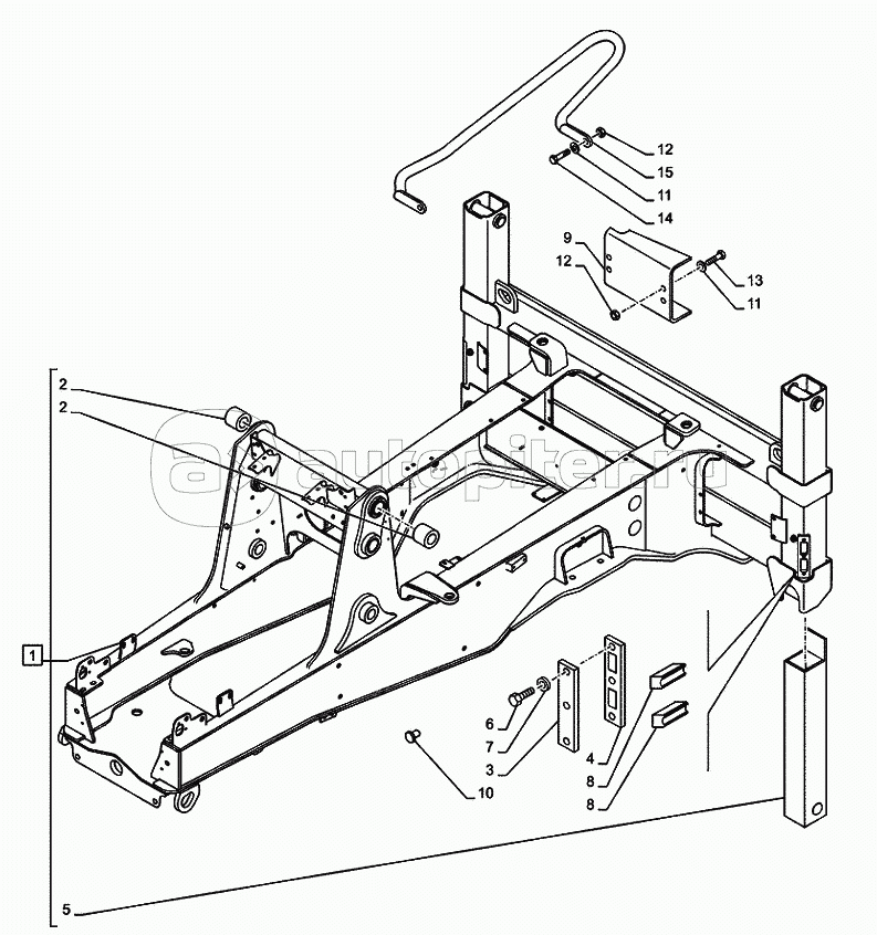
39.100.01(01) - MAIN FRAME, SIDESHIFT VERSION - C7330
-1/213.gif)
39.100.01(01A) - MAIN FRAME, SIDESHIFT VERSION - D7330
-1/214.gif)
39.100.0103(01) - MAIN FRAME, SIDESHIFT VERSION, STRAIGHT LOADER ARM - C7330
-1/215.gif)
39.100.0103(01A) - MAIN FRAME, SIDESHIFT VERSION, STRAIGHT LOADER ARM - D7330
-1/216.gif)
39.100.06 - MECHANICAL TRANSPORT LOCK CONTROL LEVER - POWERSHUTTLE - CAB (VAR.742015)
-1/217.gif)
39.100.0601 - TRANSPORT LOCK CONTROL LEVER - BREAKDOWN (VAR.742015)
-1/218.gif)
39.100.0602 - MECHANICAL TRANSPORT LOCK - TRANSPORT LOCK CONTROL LEVER - POWERSHUTTLE - ROPS (VAR.742015)
-1/219.gif)
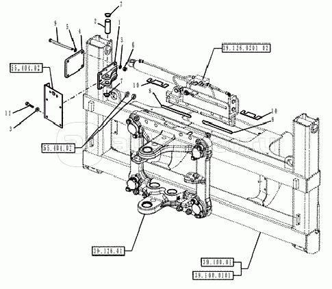
39.126.01 - SWING SUPPORT SLIDE - SIDE SHIFT
-1/220.gif)
39.126.0201(01) - BACKHOE HYDRAULIC SIDE SHIFT - SIDE SHIFT CARRIAGE (VAR.747508)
-1/221.gif)
39.126.0201(02) - BACKHOE HYDRAULIC SIDE SHIFT - SIDE SHIFT CARRIAGE (VAR.747508)
-1/222.gif)
39.126.0201(03) - CYLINDER, SIDESHIFT VERSION
-1/223.gif)
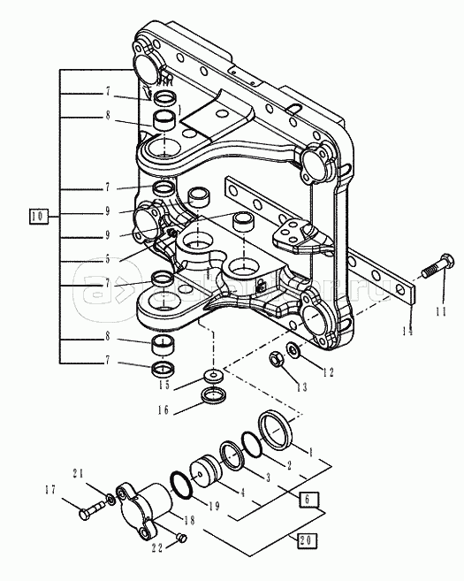
39.127.0102(01) - SWING SUPPORT
-1/224.gif)
39.127.0102(02) - SWING SUPPORT
-1/225.gif)
39.127.0103 - TRANSPORT LOCK HOOK (VAR.742015)
-1/226.gif)
39.127.02 - SWING CYLINDER SUPPORT - SIDE SHIFT
-1/227.gif)
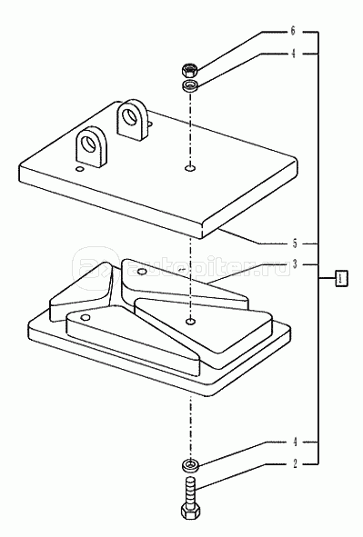
39.129.0101 - STABILIZER PADS - GROUND STABILIZER FOOT - SIDE SHIFT (VAR.728530)
-1/228.gif)
39.129.0102 - STABILIZER PADS - STREET STABILIZER FOOT - SIDE SHIFT (VAR.728529)