НефАЗ-96896-0110411nefaz-96896-0110411
Поиск деталей
НефАЗ-96896-0110411КолесаЭлектрооборудованиеПринадлежностиОборудование специализированноеПринадлежностиПлатформаДверь задка

96896-8000010-410 Установка технологического оборудования

96896-05-8001050 Установка сливно-наливного устройства

96896-05-8000080-30 Трубопровод в сборе

96896-05-8000090-30 Трубопровод в сборе

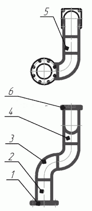
96896-05-8000100 Трубопровод

96896-05-8000110 Трубопровод

96896-05-8000120 Трубопровод в сборе

96896-05-8000130 Трубопровод

96896-05-8000140 Трубопровод

96895-05-8000150 Патрубок в сборе

96895-05-8000255 Патрубок в сборе

96896-05-8027010 Установка шкафа технологического оборудования

96896-05-8027040 Дверка (сварка)

96896-05-8027050 Шкаф оборудования

96896-05-8027060 Корпус (сварка)

96895-04-8027070-24 Кронштейн в сборе

5299-5401510 Замок в сборе

5299-6101550 Крышка замка в сборе

96896-05-8027070 Рычаг в сборе

96896-04-8000200 Установка системы рекуперации паров

96896-04-8000210 Трубопровод

96896-04-8000220 Трубопровод

96896-05-8000300 Установка насоса

96895-05-8000310 Трубопровод

96895-05-8000320 Трубопровод

96895-02-8029010 Фильтр

96741-01-8029025 Фильтрующий элемент

96741-01-8029020 Каркас в сборе

96895-02-8029030 Корпус

ГМШ 32-3-Л-00 Гидромотор шестеренный левого вращения

96896-04-8000110 Трубопровод в сборе

96896-04-8000120 Трубопровод

96896-05-8000185 Основание в сборе

96931-8020010-436 Установка пневматического оборудования