НефАЗ-96896-0110411nefaz-96896-0110411
Поиск деталей
НефАЗ-96896-0110411КолесаЭлектрооборудованиеПринадлежностиОборудование специализированноеПринадлежностиПлатформаДверь задка

96896-8513020 Корпус цистерны

96896-8513022 Установка опор цистерны в сборе

96896-8513025 Отсеки корпуса цистерны в сборе

96896-8513565 Топливо заборник

96896-8513340 Опора передняя

96896-8513360 Опора задняя в сборе

96931-8513560-07 Колпак донного клапана

96896-8513390 Опора ОСУ в сборе

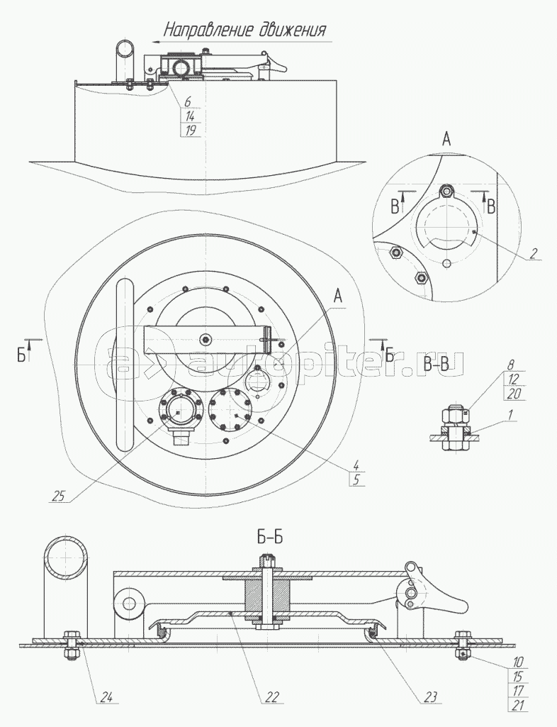
96896-8513060 Установка канала

96742-8513100 Горловина в сборе

96741-8513105 Фланец в сборе

9674-8513145 Уголок в сборе

96895-8513160-04 Установка крышки горловины

96896-8513280 Фланец в сборе

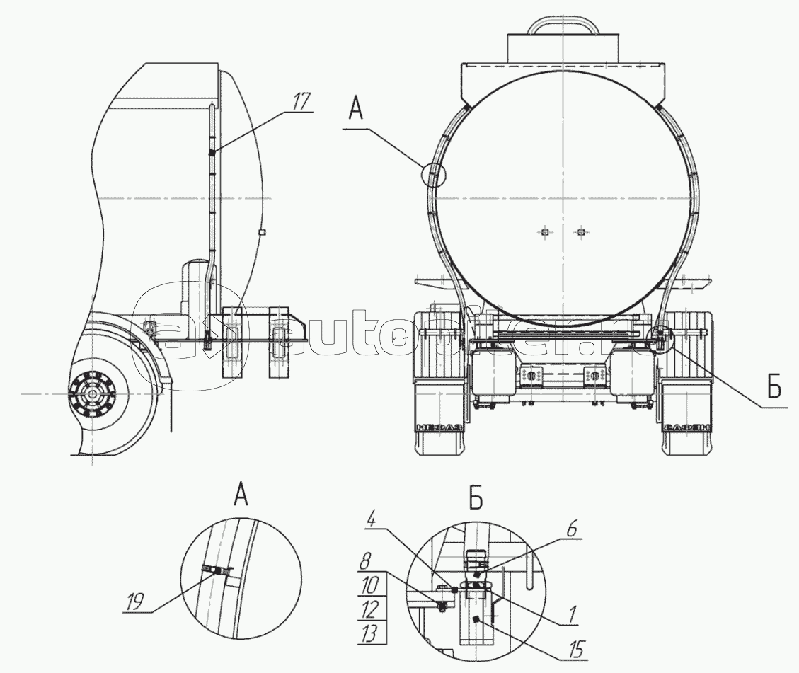
96896-8513440 Установка кронштейнов площадки, поручней и верхних лонжеронов

96896-8513424, 96896-8513425 Лонжерон верхний в сборе

96896-8513441, 96896-8513446 Кронштейн площадки задний в сборе

96896-8513450, 96896-851345 Кронштейн крепления поручня передний в сборе

96896-8513460 Кронштейн крепления поручня задний в сборе

96896-8513546 Кронштейн крепления площадки в сборе

96896-8513710, 96896-8513711 Кронштейн крепления фонаря

9674-8513480 Установка таблички заводской

9674-8513483 Установка таблички испытаний

96895-8520010 ЭП031 Установка пеналов

96896-8530010 Установка боковой защиты

96895-8533010 Установка слива из экологического короба

96896-8535010 Установка канала электропроводов