Versatile серии 2000versatile-serii-2000
Поиск деталей
Например: 04A01 Мост ведущих колес

05A01 Система смазки механизма отбора мощности

05A02 Система смазки механизма отбора мощности 12-скоростного синхронизатора

05A04 Распределитель гидравлический навесного оборудования

05B02 Рулевое управление и система смазки

05B02a Система смазки - охлаждающий обводной коллектор

05C03 Цилиндр навески в сборе

05D02 Тандем насосов

05D05 Установка тандема насосов

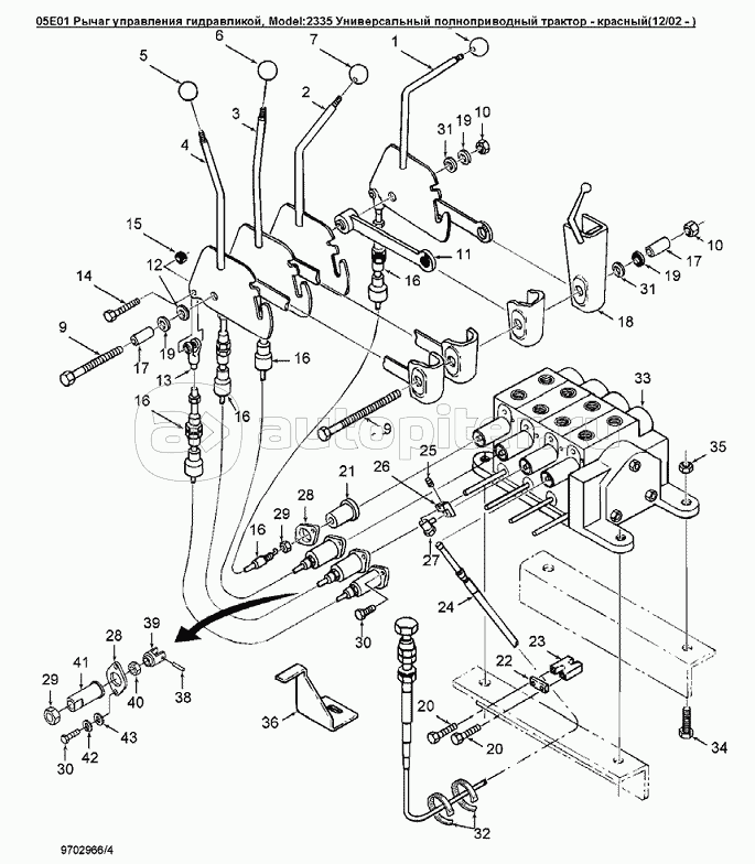
05E01 Рычаг управления гидравликой

05E02 Регулятор потока

05J01 Гидрораспределитель в сборе

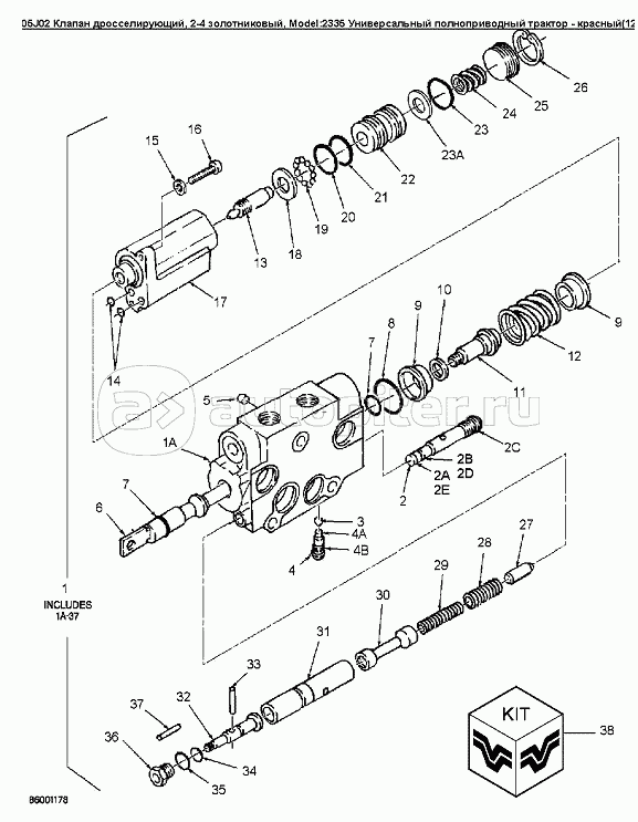
05J02 Клапан дросселирующий, 2-4 золотниковый

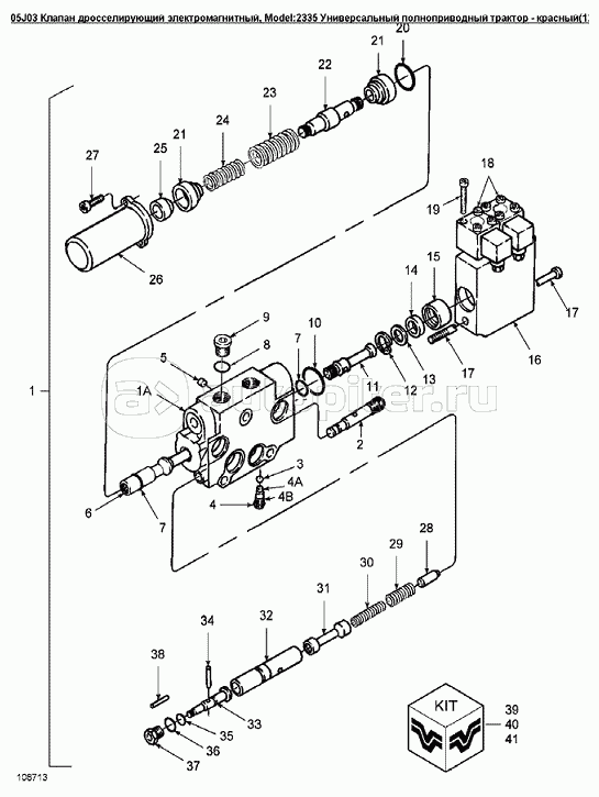
05J03 Клапан дросселирующий электромагнитный

05J04 Блокировка и затвор в сборе

05K02 Приоритетный клапан рулевого управления

05K03 Приоритетный клапан навесного оборудования

05K04 Клапан соединительный

05L01 Клапан механизма отбора мощности